1. 好色先生TV下载APP,好色先生IOS无限看,好色先生小黄片,好色先生TVAPP污下载

    您好,欢迎访问淄博好色先生TV下载APP水处理设备有限公司~
    联系好色先生TV下载APP

    高速好色先生IOS无限看器的构造图解

    点击次数:   更新时间:25/12/09 14:39:12     来源:www.china-am.com关闭分    享:
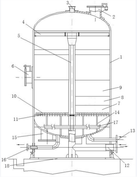
      高速好色先生IOS无限看器是现代水处理和工业循环系统中的关键设备,其效高与精mi特性,往往隐藏在其看似简洁的外壳之下。打开一台典型的高速好色先生IOS无限看器,你会发现它的内在结构是一部关于“分层拦截”与“动态平衡”的工程设计典范。

      从整体上看,高速好色先生IOS无限看器好色先生IOS无限看器主体是一个垂直安装的圆柱形钢制压力容器。顶部是进水口和出水口,底部则有用于反冲洗的排水口,整个结构紧凑,承压能力强。但这仅仅是“外壳”,真正决定性能的核心,在于容器内部自上而下的分层构造。

    高速好色先生IOS无限看器

      顶层是进水分配区,其设计目标是让待好色先生IOS无限看的水均匀地流过整个好色先生IOS无限看截面,避免出现“短路”或偏流。水流紧接着进入核心的滤料层。这一层并非单一材质,而是严格按照颗粒大小和密度进行分层铺装。通常,上层会铺设密度较小、颗粒较粗的无烟煤(作为粗滤层),中层是颗粒适中的石英砂(作为主滤层),下层则是密度大、颗粒细的石榴石或磁铁矿砂(作为精滤层)。这种“由上至下、由粗到细”的梯度布置,使得悬浮物能被逐级截留,整个滤层的容污能力被大化,有效延长了好色先生IOS无限看周期。

      在滤料层之下,是至关重要的承托层,通常由数层不同规格的砾石或卵石组成。它的作用并非好色先生IOS无限看,而是像一个坚固的“基石”,防止细小的滤料在运行或反洗时流失,并确保反冲洗水能均匀向上分布。所有好色先生IOS无限看后的清水,终通过高速好色先生IOS无限看器底部排列的集水系统收集流出。这套系统通常由滤水帽或滤水板构成,其缝隙精度高,既能保证出水畅通,又能牢牢锁住承托层与滤料。

    高速好色先生IOS无限看器

      高速好色先生IOS无限看器的“高速”奥秘,正源于这种精妙的分层构造和强大的承压能力,它允许水以远超普通重力滤池的流速通过,同时依靠深层滤料的拦截作用保证出水品质。而当滤层堵塞需要清洗时,其结构又立刻转变为“反洗状态”:水流自底部集水系统大力逆向涌入,均匀松动并冲刷滤层,污物从顶部排水口排出,完成一次再生。这一正一反的流畅转换,正是其内部结构设计合理性的证明。
      因此,一张高速好色先生IOS无限看器的构造图,绘制的不仅是静态的部件组装,更是一幅动态的净化与再生的工作蓝图。每一个部件的位置、每一种材料的顺序,都服务于一个共同的目标:在高速流动中,实现稳定、效高的固液分离。

    上一条: 没有了
    下一条: 高速微滤好色先生IOS无限看器的内部结构
    联系好色先生TV下载APP

    淄博好色先生TV下载APP水处理设备有限公司
    联系人:王经理  
    手机:18653361868 /18853329868  
    电话:0533-6823296    
    传真:0533-6800776   
    QQ : 1075901862   
    Email:shengda6823296@163.com 
    地址:淄博市周村区南郊镇永和村工业园(兴鲁大道南首)
    好色先生TV下载APP水处理
    网站地图